Un nuevo registro de patente descubierto por Tech4Gamers revela que AMD está trabajando en un nuevo estándar de memoria denominado HB-DIMM (High-Bandwidth Dual Inline Memory Module). El documento expresa la preocupación de la compañía por las limitaciones de ancho de banda de la memoria DDR5, especialmente ante el crecimiento de la demanda de procesamiento para inteligencia artificial y entornos de alto rendimiento (HPC).
Mientras Nvidia y fabricantes como Samsung, SK Hynix y Micron apuestan por el estándar SOCAMM2, AMD propone una solución alternativa compatible con los sistemas DDR5 existentes, tanto en el segmento de consumo como en servidores y centros de datos.
HB-DIMM: el doble de ancho de banda sin rediseñar los chips DRAM
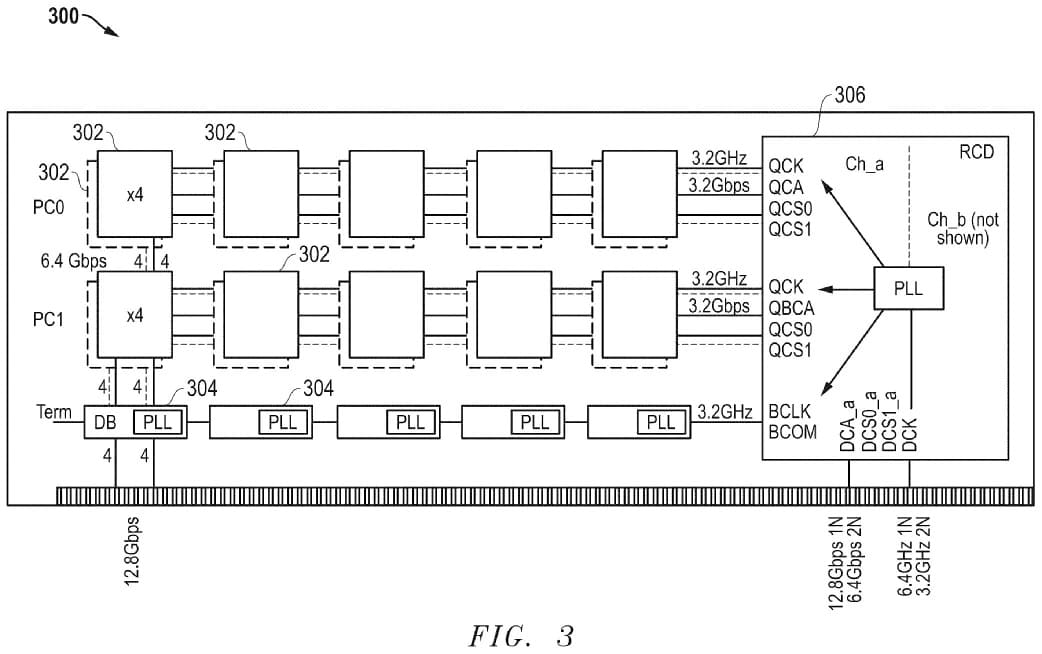
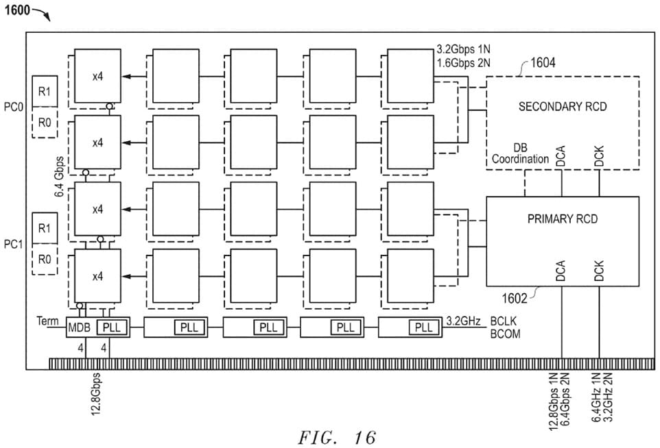
La propuesta de AMD describe una arquitectura de módulo de memoria de alto ancho de banda capaz de duplicar la velocidad máxima de la DDR5, pasando de 6,4 Gbps a 12,8 Gbps. Lo más llamativo es que no requiere modificar los chips DRAM, sino que se basa en el propio diseño del módulo.
Cada HB-DIMM integra componentes adicionales, entre ellos chips buffer especiales y controladores de reloj registrados (RCD) que mejoran la eficiencia del enrutado de señales y permiten transferencias de datos el doble de rápidas. Además, el sistema paraleliza el acceso a memoria y rompe las limitaciones actuales del estándar DDR5 sin sacrificar integridad de señal ni latencia.
Según la patente, los módulos pueden alternar rápidamente entre modos pseudo-canal y quad-rank, lo que los hace adecuados tanto para aplicaciones de IA y HPC como para sistemas gaming avanzados. La compatibilidad con DDR5 se mantiene gracias a modos de reloj flexibles y un formato de transferencia de datos no entrelazado.
Competencia directa con MRDIMM y SOCAMM2
El concepto de HB-DIMM guarda similitudes con el estándar MRDIMM (Multiplexed Rank DIMM) desarrollado por Micron, ya disponible para plataformas Intel Xeon Granite Rapids. No obstante, AMD pretende crear una alternativa propia para sus futuras CPU EPYC, ampliando su control sobre el ecosistema de memoria.
Pruebas recientes publicadas por Phoronix compararon DDR5-6400 frente a MRDIMM-8800, confirmando que el estándar de Micron ofrece mejoras de rendimiento, aunque no llega a duplicar la velocidad. Si el enfoque de AMD cumple sus promesas, podría suponer un salto significativo en ancho de banda y eficiencia energética.
Aun así, el estándar SOCAMM2 cuenta actualmente con mayor apoyo industrial, por lo que la adopción de HB-DIMM podría verse limitada, al menos en el sector profesional. Todo dependerá de si AMD logra convencer a sus socios de que esta arquitectura ofrece una implementación más sencilla y rentable dentro de la transición hacia plataformas de IA y cómputo avanzado.
Vía: NotebookCheck












